発生事象
・読者の「お名前」が異なる読者の「お名前」で上書きされる
・異なる読者のLINE情報が紐づく
・運営スタッフのLINE情報/読者情報が、お客様の読者情報に紐づく
原因①:案内するイベント申込フォーム/登録フォームのURLに誤りがある
イベント申込みフォーム、登録フォームなどのURLをご案内する際に
読者情報を含むURLを共有している可能性があります。
URLの末尾に「?rid=xxxxx」が付与された状態で
イベント申込みフォーム、登録フォームを案内してしまうと
別個人が同一個人として認識されてしまいます。
※お客様側で「?rid=xxxxx」が付与されたURLを
第三者へ共有された場合などにも本事象が発生します。
シナリオ共通項目の「お名前」が上書きされるだけでなく
LINEの友だち情報(LINE名など)も上書きされる可能性があります。
今一度、自社のオペレーションをご確認ください。
━━━━━━━━━━━━━━━
イベント申込フォーム・登録フォーム等に「rid」の情報が含まれてしまうケース
━━━━━━━━━━━━━━━
※以下のケースは「rid」が付与されますので、絶対に運用しないでください。
【1】シナリオから配信されるメールに記載されているURLを流用している
・イベント申込フォームURL
・登録フォームURL
・ファネルページURL など
【2】シナリオから配信されるLINEに記載の
「https://~~~」のリンクをコピーして配信に利用/共有している
・イベント申込フォームURL
・登録フォームURL
・ファネルページURL など
※シナリオ内のリンクは各ユーザー毎に発行される特定の読者情報を含むユニークなURLのため、
クリック後のページでは「?rid=xxxxx」が含まれたURLとなります。
※例えば運営スタッフ側のLINE上から「https://~~~」をコピーして
共有したり配信に記載すると、そのリンクを開いた読者のブラウザに
運営スタッフの読者情報が保存されてしまい、その後の動作(イベント申込み等)で
紐付きが発生してしまいます。
原因②:案内するLINE登録ページURL(QRコード画像)形式に誤りがある
原因①と同様に、URLの末尾に「?rid=xxxxx」が付与された
LINE登録ページURLをを案内してしまうと
別個人が同一個人として認識されてしまいます。
QRコード画像ページの場合はブラウザのURL欄に「rid」が含まれていなくても、
QRコード画像をスマホで読み込んだ画面遷移先のURLに「rid」が含まれている場合があります。
下記注意事例の運用をしていないか、今一度自社のオペレーションをご確認ください。
━━━━━━━━━━━━━━━
LINE登録URLまたはQRコード画像に「rid」の情報が含まれてしまうケース
━━━━━━━━━━━━━━━
※以下のケースは「rid」が付与されますので、絶対に運用しないでください。
【1】シナリオから配信されるメールに記載の「LINE登録ページ」へアクセス後、
その画面から取得した「LINE登録ページ」のURLを流用している
【2】シナリオから配信されるLINEに記載の「https://~~~」のリンクを流用して
「LINE登録ページ」へ誘導している
※utlinkは各ユーザー毎に発行される特定の読者情報を含むユニークなURLのため、
クリック後のページでは「?rid=xxxxx」が含まれたURLとなります。
【3】ファネルにて、メールアドレス登録後のサンキューページで
LINE友だち追加ボタン押下後に表示された「LINE登録ページ」のURLを流用している
【4】ファネルにて、メールアドレス登録後のサンキューページで表示される
「LINE友だち追加QRコード画像」をスクリーンショットやダウンロードで流用している
【5】QFM管理画面から「LINE登録ページ」をクリック後に表示される
QRコード画像をZoom等で画面共有した/ダウンロードして流用した
※ブラウザの通常モードで開くと、QRコード画像内には「rid」が含まれています。
この場合はブラウザの「ゲストモード」を利用してLINE登録ページにアクセスしてください。
※「シークレットモード」はクッキー情報が残る可能性があるので非推奨です。
【6】ファネルの「画像」要素を利用してQRコード画像を設置した場合に
そのQRコード画像内に「?rid=xxxxx」が含まれてしまっている
※【4】や【5】の方法で取得したQRコード画像で発生します。
原因③:同一端末、IPアドレスからの読者追加(代理登録/代理予約)をしている
お客様ご自身でフォーム入力・送信をせず、運営スタッフ側が代理で
読者登録/代理予約を行った場合はスタッフの端末情報やIPアドレスが参照されてしまうため、
お客様の読者情報とスタッフの読者情報が紐づいてしまいます。
■シナリオへの読者登録をスタッフが代理で行う場合
該当シナリオ > 読者一覧 > 「+追加」から手動登録にてご対応ください。
読者を手動で追加する方法
■イベントの申込みをスタッフが代理で行う場合
※代理予約はQFMでは非推奨としております。
可能な限り、お客様操作でイベント申し込みを行って頂くようご案内ください。
◯セミナー・説明会タイプ
イベント・予約 > イベント名 > 申込者 > 「+追加」から手動登録にてご対応ください。
関連:イベント・予約機能の「申込者」画面から手動追加後、登録直後のステップ配信が配信されません
◯個別相談・個別予約タイプ
イベント・予約機能(個別相談・個別予約)で申込フォームから代理予約をする方法
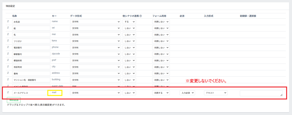
原因④:読者項目の「メールアドレス(キー:mail)」を書き換えて利用している
該当シナリオ > 登録フォーム・読者項目 にて、
デフォルトで用意されている「メールアドレス(キー:mail)」を
アンケート項目やラジオボラン等へ書き換えて利用してしまうと、
同じ回答内容の読者同士が紐付いてしまいます。
デフォルトで用意されている「メールアドレス(キー:mail)」は
書き換えてアンケート項目等に利用しないでください。
※アンケート項目は、「項目追加」ボタンよりフリー項目として追加してご利用ください。
原因⑤:テスト登録で名前が上書きされてしまう
テスト登録などを行う際、メールアドレスを変えて登録しても
同一個人として認識される場合があります。
解消するためには、アカウント基本設定 > メールアドレス登録時の同一個人の判定を
【端末情報+メールアドレス】から【メールアドレス】へ変更してご対応ください。
関連:メール・LINE配信機能とは?>配信アカウントの編集方法
対処方法:上書きされたお名前を解消する方法(イベント予約時以外)
例えば、以下が正しい情報の場合で
○ Aさん:abc@gmail.com
○ Bさん:xyg@gmail.com
Aさんのお名前がBさんに置き換わってしまった場合
× Bさん:abc@gmail.com
○ Bさん:xyg@gmail.com
Step1:シナリオ設定で「メールアドレス登録時の同一個人の判定」を【メールアドレス】へ変更する
メール・LINE配信 > アカウント名選択 > シナリオ名選択 > シナリオ設定
の画面にて、「メールアドレス登録時の同一個人の判定」を「メールアドレス」に変更してください。
Step2:問題が発生している方のメールアドレスの変更
メール・LINE配信 > アカウント名選択 > シナリオ名選択 > 該当読者のメールアドレスを検索
Aさんの読者一覧からabc@gmail.comのメールアドレスを
(存在しない)まったく違うメールアドレスへ変更してください。(dfg@gmail.comなど)
※こうすることで、今後、本来のメールアドレスから申込みが発生した場合に
お名前やLINE情報の紐付けを防止することが可能となります。
(この後のStep4で配信解除します)
Step3:読者追加から本来のメールアドレスを追加
メール・LINE配信 > アカウント名選択 > シナリオ名選択 > 読者一覧 > 【追加】ボタン
から、新規でAさん:abc@gmail.comを追加してください。
【★★要注意★★】
※シナリオ登録フォームやファネルページ経由、イベント申し込みページ経由で代理登録した場合、
代理登録作業者のクッキー情報を元に登録されてしまいますので、必ずQFM管理画面内から
読者追加操作をしてください。
Step4:Step2で変更したメールアドレス登録データを配信解除
まったく違うメールアドレスへ変更したdfg@gmail.comの読者を配信解除または削除してください。
※上記の方法は、イベント予約時以外のケースで対応可能です。
イベント予約の場合、イベント予約に関する内部データの手動登録ができず
「%event_info%」の置き換え文字が正常に動作いたしません。



